欢迎访问上海硕舟电子科技有限公司官网!
产品中心Product
雷达物位计 料位计 液位计 水位计 密度计 无线传输装置4G RTU 液位开关 料位开关 空气锤/气动振动器 声波清灰器 压力/液位测控仪表 流量计 流量开关 温度测控仪表 气体变送器 在线分析仪表 皮带输送机保护装置
玻璃转子流量计
玻璃转子流量计
一. 概述
玻璃转子流量计(以下简称流量计)是用来测量非混浊液体、气体等单相介质流量的仪表之一。该仪表具有结构简单、维修和使用方便、价格便宜等优点。主要用于化工、石油、轻工、医药、化肥、化纤、电力、冶金、食品、制糖、燃料、造纸等部门。
二.工作原理与结构
   仪表测量部分为一根垂直安装的玻璃锥管和管内的浮子所组成。锥管的大端向上,浮子随流量大小沿锥管轴线方向上下移动。当流体自下而上通过锥管时,由于流体的作用,浮子上下端面产生一差压,浮子在此差压作用下上升。当作用在浮子上的上升力与浮子所受的重力、浮力及粘性力三者的合力相等时,浮子便稳定在某一高度上。这时浮子在锥管中的高度与所通过的流量有对应关系。该高度就是流量大小的量度。
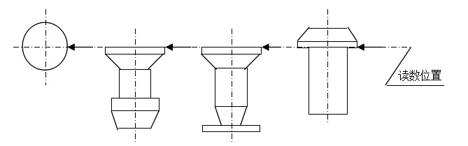
锥管上刻有流量刻度,流量计的读数按图一所示的读数位置读取流量示值。
   
               图一  玻璃转子流量计读数位置
我公司生产的流量计的结构按口径不同可分为表盘式、可换式和固定式三种。
表盘式结构如图二所示,它适合于口径为4、6、10mm的流量计。主要支撑件是支板 2和带有针阀的下基座9及上基座3,针阀用于调节流经仪表的流量,流入、流出咀与管路用软管联接,支板上有两个螺孔用来固定仪表。
    可换式结构如图三所示,它适用于口径为15、25、40mm的流量计。带法兰基座1和内衬填料8通过两支板6与锥管相连接,以压紧盖7加以密封,镶有不锈钢或塑料等制成的镶套,以耐腐蚀性,基座的两法兰与管路相连接,需将螺栓9(上下共8个)旋下,就能取出锥管,进行清洗或替换。
     固定式结构如图四所示,它适用于口径为50、80、100mm的流量计。基本结构与可换式相类同,但里面不装镶套且锥管不能单独拆卸。中间装一导杆,测量大流量时,可以使浮子依然能顺着导杆上下平稳地滑动,也可保护锥管免遭损坏。
 
三、玻璃转子流量计基本参数及性能指标
    1、执行标准
        执行标准为ZBY138-83《玻璃转子流量计》。
    2、使用环境条件
     (1)环境温度:      -10~50℃;
     (2)相对温度:      不超过95%;
     (3)流量计周围不应有强腐蚀气体。
    3、正常工作条件
     (1)被测流体的流动为单相、无脉动的稳定流且充满管道;
     (2)流量计的中心线与铅垂线之间的夹角:
           a、1.0和1.5级的流量计不大于2°;
           b、低于1.5级的流量计不大于5°;
     (3)被测流体的温度为-20~60℃(普通型)和0~120℃(高温型),工作压力见附表一。
     (4)无机械震动。
    4、精度等级
流量计的精度等级见表1
表1
流量计的公称通径(mm)
4、6、10
15~100
精  度  等  级
1.5%、2.5%、4%
1.5%、2.5%
    5、公称通径、流量上限值,范围度,公称压力见附表一
        附表一:  玻璃转子流量计参数规格表
产品型号
公 称
通 径(mm)
流  量  范  围
工  作
压  力
(MPa)
液体(L/h)
气体(m3/h)
LZB-4
Φ4
1~10
0.016~0.16
≤1
1.6~16
0.025~0.25
2.5~25
0.04~0.4
LZB-6
Φ6
2.5~25
0.04~0.4
4~40
0.06~0.6
6~60
0.1~1
LZB-10
Φ10
6~60
0.1~1
10~100
0.16~1.6
16~160
0.25~2.5
LZB-15
Φ15
16~160
0.25~2.5
≤0.6
25~250
0.4~4
40~400
0.6~6
LZB-25
Φ25
40~400
1~10
60~600
1.6~16
100~1000
2.5~25
LZB-40
Φ40
160~1600
4~40
250~2500
6~60
LZB-50
Φ50
400~4000
10~100
≤0.4
600~6000
16~160
LZB-80
Φ80
1000~10000
50~250
1600~16000
80~400
LZB-100
Φ100
5000~25000
120~600
8000~40000
200~1000